Vistas:0 Autor:Editor del sitio Hora de publicación: 2026-02-28 Origen:Sitio
La función del molde cilíndrico de la máquina de papel
El molde cilíndrico es el componente principal sobre el cual se forma la banda de papel en la máquina papelera cilíndrica. Requerir que filtre el agua de manera uniforme y no generar agitación excesiva en el tanque de malla durante la rotación. El molde cilíndrico debe tener suficiente rigidez y dimensiones geométricas precisas, y debe instalarse horizontalmente.
Los moldes cilíndricos se dividen en: moldes cilíndricos ordinarios, de tipo chip, de succión y de vacío según su estructura; Dividido por material: molde cilíndrico ordinario, totalmente de cobre y acero inoxidable.
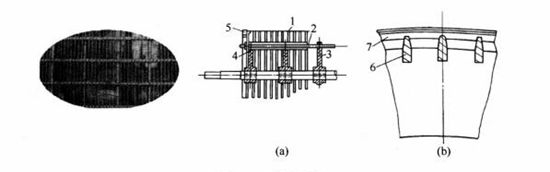
La siguiente imagen es un diagrama esquemático de una estructura típica de molde cilíndrico.

En el eje de hierro fundido se instala un dispositivo de nervadura de soporte de latón llamado radios, con una separación entre radios de 100-150 mm. Los radios sostienen la llanta central de la rueda y están rodeados de ranuras. Las ranuras están equipadas con barras horizontales de la misma longitud que el molde del cilindro. El diámetro de la barra horizontal es de aproximadamente 1 cm, con una distancia de centro a centro de aproximadamente 4 cm, paralela al eje central. La barra horizontal está fabricada en acero o latón y su sección transversal puede ser circular o rectangular. Las dos ruedas más exteriores están fundidas con anillos sobresalientes para formar un sello con las partes correspondientes de la ranura de malla, aislando el interior y el exterior del molde del cilindro. Fresando pequeñas ranuras dentadas en la barra horizontal de acuerdo con una línea en espiral, enrollando un alambre de metal continuo con un diámetro de aproximadamente 3 mm en forma de espiral alrededor del molde cilíndrico para formar un marco cilíndrico de malla en forma de cilindro. El espacio entre los cables metálicos adyacentes es de aproximadamente 1 cm. Finalmente, cubra el alambre de cobre con una capa más gruesa de malla de latón o acero inoxidable y luego cúbralo con una malla más delgada que se usa para fabricar papel. Tanto la malla interior como la malla superficial son mallas finales, que se aprietan en el marco del molde cilíndrico con herramientas especiales y se conectan mediante soldadura de plata o soldadura eléctrica. El conjunto final debe ser muy redondo y concéntrico con el eje central, con la rigidez suficiente para soportar la presión de los rodillos sin deformarse. El rango de diámetro del molde cilíndrico estándar es de aproximadamente 1 a 1,5 m, y la especificación comúnmente utilizada es de 1,2 m.
El dispositivo de soporte del molde cilíndrico está situado fuera de la ranura de malla. Los dos extremos del molde cilíndrico están conectados a la caja lateral de la ranura de malla. Después de conectar la pulpa a la rejilla, el agua blanca filtrada en el molde cilíndrico a través de una malla de cobre ingresa a la caja lateral desde ambos extremos del molde cilíndrico y luego es bombeada hacia afuera mediante una bomba de agua blanca para su reciclaje.

La malla interior del molde cilíndrico es generalmente de malla 8-16, y se utiliza principalmente para dispersar la presión de los rodillos y mantener la malla de la superficie plana. La malla es relativamente densa y se utiliza para filtrar fibras para formar una red de papel, que normalmente oscila entre 40 y 100 mallas. La selección del tamaño de malla depende principalmente de la variedad de papel producido, y el tamaño de malla más comúnmente utilizado para producir papel cultural general es el de 65 mallas.
La siguiente figura muestra una forma estructural del molde cilíndrico tipo chip. El molde cilíndrico tipo chip se refiere al cambio del disco exterior de un molde cilíndrico normal de un alambre de cobre con un diámetro de 3 mm a una placa de acero inoxidable con una sección transversal rectangular. Sus principales características son: aumentar el área y velocidad de filtración y mejorar la producción; Mejorar la calidad del papel, incluida la uniformidad, el peso y la relación de aspecto, y reducir el consumo y los costos de mantenimiento de mallas de cobre, fieltros y otros materiales; Fortalecer la integridad general y el rendimiento anticorrosión de los equipos, con alta resistencia, buena rigidez y durabilidad. Se han desarrollado y producido tres tipos de moldes cilíndricos: viruta pasante, viruta enrollable y viruta inclinada.
![]() | ![]() |
Cómo extender la vida útil del fieltro prensado en máquinas de papel
¿Por qué es importante formar tela para las máquinas de fabricación de papel?
¿Su prensa sintió una inclinación al correr en la máquina de papel?
Sun Hong formando tela funcionando de manera estable en una máquina de papel de 1200 m/min